Drinkstation's R&D focuses on two technical frontiers.

Water Dispensing

Water Purification & Filtration
Learn more about some of our key technologies below.

Da Vinci Dispenser
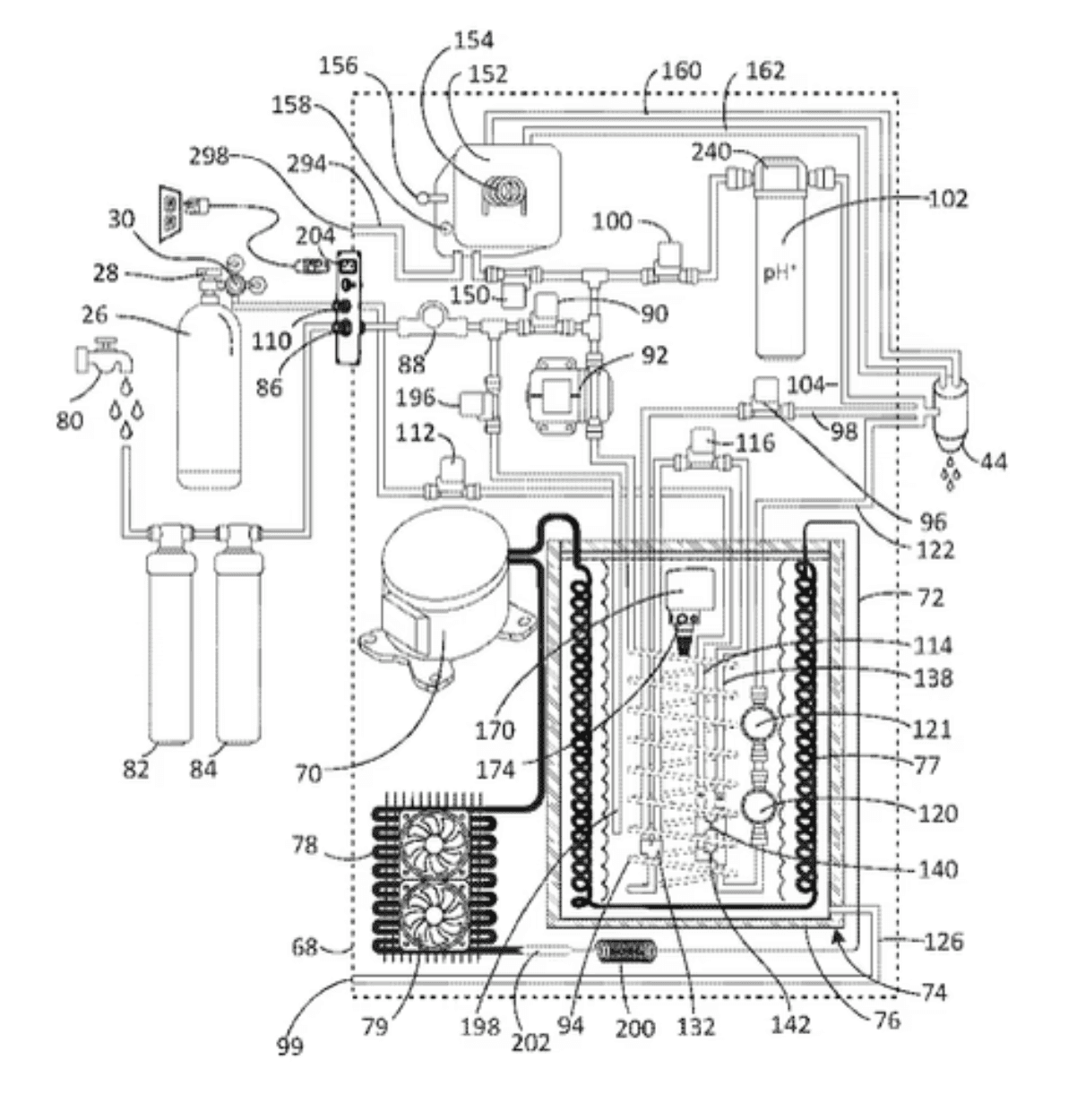
The DRINKSTATION® Da Vinci represents a significant advancement in point-of-use (POU) water purification and dispensing technology.

Flash Chilling Apparatus
This is an innovative beverage chilling system designed to rapidly cool beverages on demand while maintaining a compact form suitable for home and business environments.

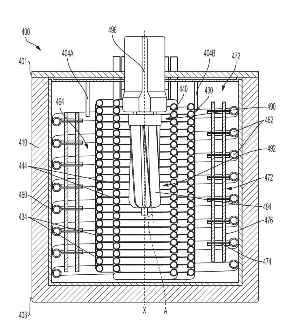
Polarizing Carbonation
With three patents granted and several more patents filed, the POLARIZING WATER CARBONATION DEVICE can create carbonated water (sparkling water) that is extremely fizzy and that keeps its bubbles longer than traditional methods.

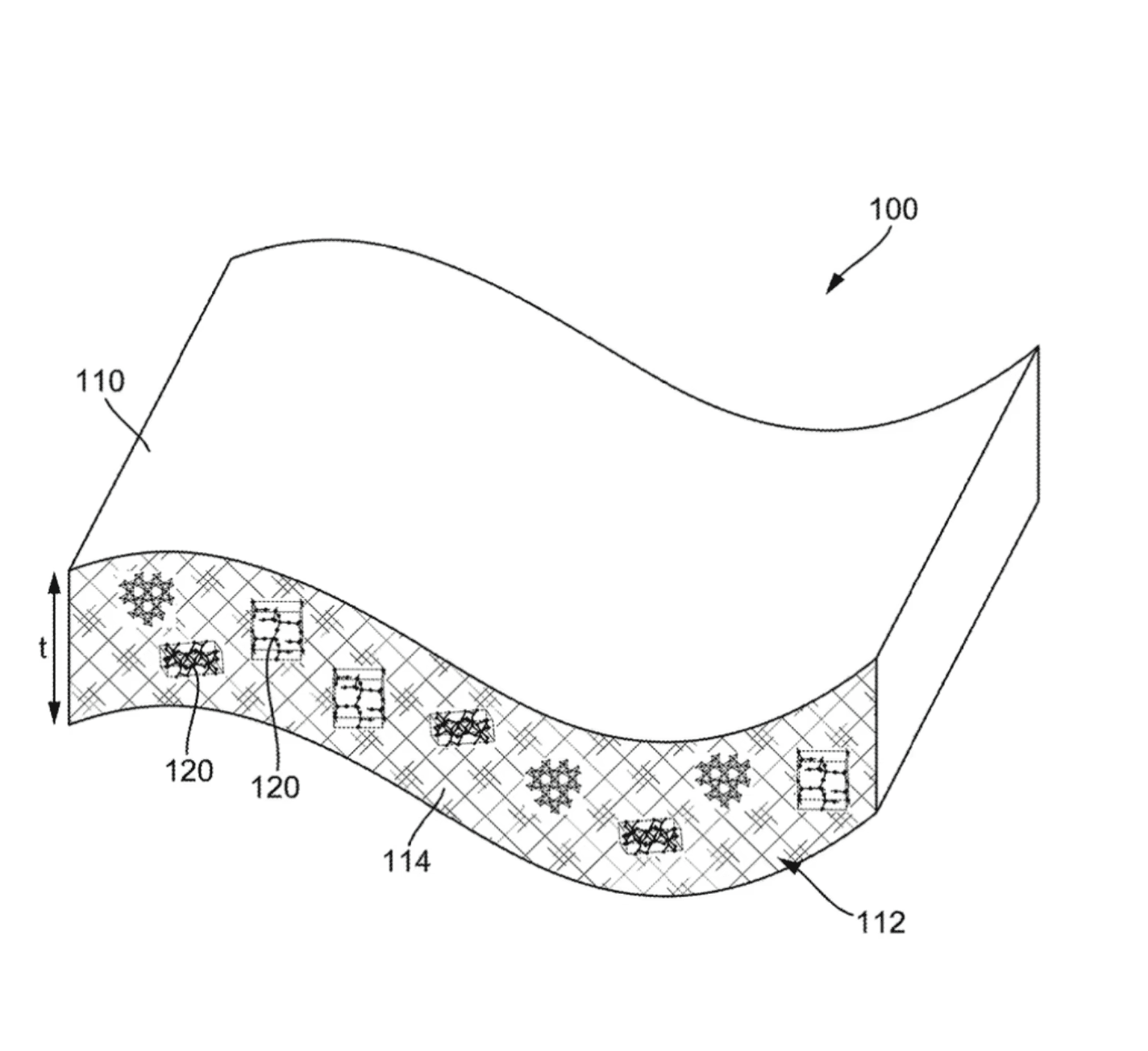
Multi-Barrier Filtration
The DRINKSTATION® system employs advanced multi-barrier filtration & purification technology specifically designed to address the limitations of municipal water treatment. This comprehensive approach utilizes sequential filtration stages, starting with the Actifilter® and finishing with the Absolute Purifier™.
Rapid Product Conceptualization
New Technology introduction and system verification
Preliminary mechanical and electrical design
Firmware, Programming and Integration
Fast Prototyping
Validation of Concept Designs
Consumer Insights
New Technology Application & Protection
Final CAD Design
Global Sourcing
BOM Freezing
Design Tooling & Molds Applied
Manufacturing Engineering
Beta Fabrication
Market Testing
Agency Certifications
Quality Management & Control Processes
Standard Operating Procedures
Accelerated Lifetime Testing for Critical Quality Components
Program Management
Small Series Manufacturing
Mass Production
Our technical team will reach out if we believe there is a fit.
